NFT生态在迅速增长,并且构成了以太坊链上gas消耗的重要部分。NFT生态系统仍处于年轻态并相对缺乏根基,并且由于NFT领域很大一部分属于非金融性质,因此更需要避免高额费用,这使得转移到layer2成为主要目标。然而,这就抛出了如何转移到layer2的问题。一个简单的提议是通过社会性协调转移到一个特定的rollup平台(例如Arbitrum,因为目前已经支持通用智能合约部署),但这样做也有几处劣势:所有目前支持EVM的主要rollup平台都有后门、中心化排序或其他辅助措施,将整个生态系统转移到单个rollup是有风险的,而rollup将如何升级这些功能还存在不确定性;NFT生态系统最终可能成长到单个rollup无法安全承载的体量;NFT生态系统的任何部分,甚至整个NFT生态系统,都不是封闭的;他们将需要与以太坊生态系统的其他部分进行互操作本文提出了一个使NFT友好跨rollup并使其迁移到整个layer2生态中的提案。提议解决方案一
Vitalik Buterin:账户抽象可为以太坊带来数十亿美元的收益:金色财经报道,最近在巴黎举行的以太坊社区会议(EthCC)上的一次演讲中,以太坊创始人Vitalik Buterin详细介绍了账户抽象升级如何让用户用用于交易的代币支付Gas费,从而吸引数十亿人使用以太坊。帐户抽象使用户能够从外部拥有的钱包(EOA)切换到基于智能合约的钱包。如果此次升级成功,钱包管理将比现在更加高效和轻松。Buterin和社区相信,这可以使加密技术得到广泛采用。
此外,加密货币领域充斥着丢失助记词或助记词被盗的用户。通过账户抽象,用户可以创建充当可编程智能合约的非托管钱包。据报道,钱包恢复只是此次新升级带来的众多功能之一。Buterin相信此次升级可以给以太坊带来数十亿美元的收益。[2023/7/20 11:05:50]
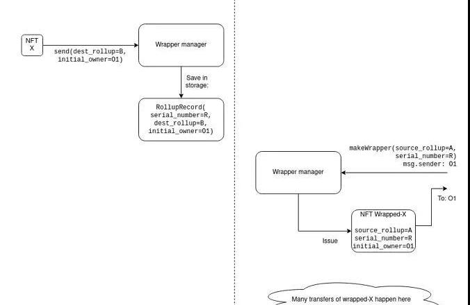
NFT可以在单个rollup中进行初始注册,然后通过创建wrapperNFT(封装NFT)在不同的rollups(或者是底层链)中转移。NFTwrapping过程如下:在RollupA上,将NFT(设为X)发送到封装管理器合约(wrappermanagercontract),指定(i)目标Rollup和(ii)初始所有者。加密箱合约(lockboxcontract)存储一条记录,为X分配一个新的序列号R,并保存目标Rollup(设为B)和目标Rollup的初始所有者(设为01)。在RollupB上,任何人都可以使用RollupB上的封装管理器合约创建wrapperNFT。创建一个wrapperNFT需要指定源Rollup和序列号。要创建X的一个“有效”wrapperNFT,只能由指定的所有者和通过声明(R,A)作为序列号和源rollup完成。注意,有可能会创建一个指向无内容的无效wrapperNFT,而RollupB无法分辨有效和无效。封装管理器合约存储(序列号、源Rollup、初始所有者)值组并防止使用同一个值组创建多个wrapperNFT。要从加密箱中提出NFT,RollupB上的wrapped-X的当前所有者必须将其发送回封装管理器,后者发布收据说明“序列号为R、源rollupA和初始所有者01的NFT已经解除封装,以及潜在的新所有者02”。加密箱合约可以在收到rollupB上收据的证明之后将NFTX交由02,并根据其存储的信息检查序列号、源Rollup和初始所有者,并验证NFT的转移。请注意,提取NFT存在时间延迟,因为OptimisticRollup类解决方案的状态根需要大约一周的延迟才能最终确定,以便验证收据。到目前为止,更快地进行多跳的唯一方法是进行多层封装。
派盾:标记为Vitalik Buterin的地址转移多种代币或是整理钱包:金色财经报道,派盾PeckShield发布推文称,标记为Vitalik Buterin的地址已转移多种代币(一些山寨币)和1,541.59枚USDC,并将13万枚USDC转移到Coinbase,此举或许是在整理钱包。[2022/12/21 21:58:13]


用户要验证wrappedX是否合法,需要自己验证RollupB上的状态和RollupA上的收据。拓展:增加跨rollup转账
Cosmos宣布将在24小时内对Gravity DEX流动性提供者分配2.88亿美元奖励:官方消息,Cosmos宣布,将在Gravity DEX资金池激励流动性提供者。B-Harvest将在4个流动性池进行大量兑换交易,4个池为随机选择且每小时更换。对于每个选定的池,B-Harvest将将执行大约10亿美元的交易量,提高选定池的兑换费用奖励。从5月9日15:00(UTC)至5月10日15:00(UTC),共24小时,每小时将有约1200万美元费用奖励给选定池的LP,共约2.88亿美元。[2021/5/9 21:41:05]
在rollupB上,wrapped-X的所有者可以将其发送给封装管理器,并附上一条指令发布不同的收据“序列号为R、源RollupA和初始所有者为01的NFT刚刚转移到RollupC,以及潜在的新所有者02”。在RollupC上,任何人都可以通过指定原始源Rollup(在目前示例中为RollupA)、序列号和初始所有者来制作wrapped-X对象,并且RollupC上的此wrapped-X可以进行自由交易。但是一旦如此,提出wrapped-X需要发布跨rollup转移产生的所有收据(当前实例中为2个)。
动态 | EOS的Activity指数以47,221,545排名第一:据blocktivity.info数据,截止北京时间18年12月08日11点00分 ,区块链活跃度指数排名前五名分别为:EOS,WAX,TRON,BitShares,Kin。其中EOS的Activity指数为47,221,545,排名第1。Activity指数为最近24小时内在区块链上执行的操作数量。[2018/12/8]


花花公子宣布推出加密货币VIT:花花公子公司宣布将推出自己的加密货币VIT,作为其正在开发的在线支付钱包的一部分。该钱包将为该公司的数字媒体和休闲游戏业务提供服务,并将接受除自己以外的其他加密货币。昨日,花花公子宣布允许用户使用加密货币支付成人内容。[2018/3/16]
请注意为了简单起见,“提款”本身不再是跨rollup的操作,而是是通过跨rollup完成的,在rollupA上创建wrapped-X(X的同一个rollup),然后单独进行一步unwrapping(解除封装)操作。实际上,当NFT从一个rollup转移到另一个rollup时,转移路径上的链会产生一串收据,该收据链中的每一个收据都被镜像到rollupA,并且在未来,当其他rollup的状态根最终确定时,这些收据将在某个时间点按序被处理(在短期内可以通过Kate承诺进行空间优化,长远来看可以通过ZK-SNARK证明整条收据链)。用户要验证wrappedX的真实性,需要验证所有路径rollup反映了跨rollup转移的整个收据链(或者至少是继上一个收据之后已经镜像到rollupA的收据链)。扩展2:在底层链上优化发行gas
所有NFT都可以这种方式发行:由以太坊底层链上的加密箱“拥有”。为了优化gas的效率,加密箱合约将具备生成一套序列号并将其传输到rollup的功能。实际上,所有NFT都是预先创建的,但尚未分配“意义”给其中任何一个(可以想象成有2*256个尚未分化的“干细胞”NFT),并且它们以批量形式转移到rollup。“发行”过程现在就变成了分配意义的过程。这可以通过在收据中传递“含义哈希”来完成,与所有者传递的形式相同:如果NFT没有意义(是一个"干细胞"),所有者可以为其分配一个含义,使其成为一个具有“差异性”的NFT。底层链只有在验证收据链后才知道NFT的含义,直到分配含义为止(实际上,收据验证必须是ZK-SNARK的才具备可行性)。这允许所有NFT都在底层链中“扎根”,而不是rollup。这对于处理rollup故障、因其他原因不可用或是应用需要永久迁移到其他域的情况来说很有帮助。
标签:ROLROLLNFTRAProll币出獠牙肩几率roll币能出泰沙拉克吗SWISSNFTFUND币Wrapped Gen 0
9月8日,加密资产交易所FTX官宣其与NBA球星斯蒂芬·库里达成合作,后者将成为FTX的全球大使和股东。随后,这一消息得到了库里的确认。在加入FTX之前,库里就流露出对加密领域的兴趣.
1900/1/1 0:00:00CetoSwap是基于DFINITY互联网计算机构建的去中心化交易所,旨在连接区块链与现实世界。底层基于DFINITY的CetoSwap将提供比以太坊更加快速、便宜的交易体验.
1900/1/1 0:00:00收录于话题#每日期权播报 播报数据由Greeks.live格致数据实验室DataLab和Deribit官网提供.
1900/1/1 0:00:00Odaily星球日报译者|Moni 目前,在以太坊NFT收藏品交易垂直领域里,OpenSea绝对处于领先地位,但如果与头部实物商品市场相比,OpenSea是否有实力抗衡呢?到目前为止.
1900/1/1 0:00:00出品|Odaily星球日报 这两天大热的项目,除了文本类NFT「FirstFirstNFTs」,还有菠菜猴「MonkeyBetDAO」.
1900/1/1 0:00:002021年8月5日,伦敦硬分叉见证了以太坊区块链到目前为止最大的更新之一:EIP-1559,它改变了收费市场在网络上的运作方式.
1900/1/1 0:00:00