比特币供应减半的概念就是自2009年比特币推出以来,每四年新比特币的供应就会减半。

我们之前提到过的,自2009年比特币发行开始,每个矿工开采区块获得奖励50个比特币。2012减半为25个,2016再次减半为12.5个。下一次减半计划在2020年5月。减半的实际时机取决于比特币的开采能力,并不是四年这个时间截点。比特币规定每210,000个区块被开采就会发生一次减半,因为每个区块开采的平均时长为10分钟,导致每四年发生一次比特币减半的现象。
比特币供应曲线
下图列出了比特币的供应曲线。红线为比特币的通货膨胀,蓝线为比特币基础货币。如您所见,直到2013年,比特币的发行量都在急剧增加。目前新供应量每年约为3.5%,并将在2020年5月降至1.75%,在2024年降至0.83%。
Stargate基金会建议DAO不要重新发行STG代币,FTX清算人或将寻求赔偿:3月13日消息,基于 LayerZero 的跨链流动性协议 Stargate 发推称,Stargate 基金会建议 DAO 不要重新发行 STG 代币。去年 FTX 破产后,FTX/Alameda 钱包出现密钥泄露或内部问题,被黑客攻击损失约 5 亿美元。FTX 清算人最终将所有资产转移到新钱包,密钥不会泄露给黑客。Stargate DAO 认为,该钱包的密钥极有可能在 FTX 清算人 / Alameda 与黑客之间泄漏与共享,并提议重新发行 STG 代币以将这些资金转移出该钱包。
FTX 清算人近期表示,如果重新发行并转移资金,将违反自动中止条款,并将积极寻求赔偿。
经与律师沟通后,FTX 清算人认为代币已经在其钱包中并无需采取任何行动,以及代币将在 3 月 17 日一次性被领走。Stargate 基金会认为这是错误的,且没有迹象表明 FTX 清算人对智能合约的实际情况、运作方式以及如何与合约互动以确保资金安全有深刻认知。基金会认为 FTX 清算人更愿意将代币保存在一个不安全的钱包中。LayerZero Labs 表示其明确保留在任何时候就 STG 代币所有权问题以及因清算人在确保这些资金方面的不负责任而造成的任何损失采取任何法律行动并行使任何补救措施的权利。它们重申,假设其成功并在法庭上获胜,代币将以成本价转移给 Stargate DAO。
金色财经此前报道,2 月 6 日 Stargate 此前提出的重新发行 STG 的提案以 90% 的支持率投票通过,依据提案内容将于 3 月 15 日执行。[2023/3/13 13:00:17]

PancakeSwap宣布已销毁6945320枚CAKE:12月5日消息,去中心化交易所PancakeSwap发推称,今日已经销毁6,945,320枚CAKE,价值2800万美元。[2022/12/5 21:23:59]
2020年5月的时候会发生什么?
像2016年那样,减半可能会引起媒体的广泛关注。但请记得,我们持有该资产应以其稀缺性为根据,而非投机。到2020年,它将成为有史以来最稀缺的资产。这听起来很夸张,但却是事实,因为比特币的通胀率将大大低于黄金的通胀率。
我们可以看一下2019年第三季度。在一整个季度中,比特币总共被开采了84,000个,价值约8.42亿美元。听已经很多了,但想象一下光是GrayscaleInvestmentTrust和Square两家公司就在同一季度出售了价值4亿美元的比特币。也就是说仅是一个局部地区的两家业务就消耗了比特币整个季度全部供应的50%。在这种情况下,我们不难想象它2019年的价格的趋势。
HT短时跌破4美元,24小时跌超20%:金色财经报道,HT短时跌破4美元,现报价4.13美元,24小时跌幅达20.52%。行情波动较大,请做好风险控制。[2022/11/13 12:58:30]
话虽如此,我们并不是说比特币供应减半价格就会上涨一倍。有很多因素都在影响着价格,我们来一一来看。
矿工和减半
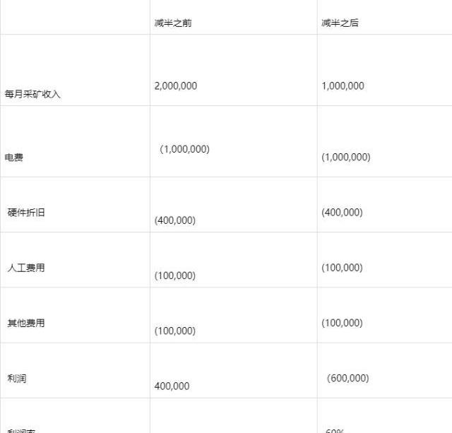
比特币矿工通过解决区块难题来收取区块奖励和交易费用。这个工作十分有利可图,但需要在IT基础架构上大量投资。如下表,目前比特币采矿的业务利润率大概为20%。是个回报还不错的投资。

调查:70%的金融领导者认为CBDC是法定货币的未来:金色财经报道,Ripple发布的一份报告指出,金融领域的主要参与者正在考虑将央行数字货币(CBDC)作为法定货币的未来。 来自全球五个地区的超过70%的受访者认为,CBDC在未来五年内具有更大的潜力来推动重要的社会变革。
据悉,该调查收集了1,600名受访者的反馈,亚太地区在CBDC受欢迎程度方面处于领先地位。在该地区,中国央行在最近计划将其CBDC试点项目扩展到更多城市。(Finbold)[2022/7/15 2:16:22]
一旦减半,比特币矿工开采每区块奖励由12.5降为6.25个比特币。假设比特币价格不变,那矿工们的收入减半,整个业务也马上变的亏损了,因为成本结构是基本不变的。那么会导致矿工因为现金流难以维持运营,而将持有的比特币销到市场上来缓解现金流上的压力。
也就是说,矿工减产的经济后果,极有可能是比特币价格短期内下跌。当然,这并不是最后结果,它只会使路径变得有些曲折。也就是说,短期内新比特币供应的减少可能会导致更多比特币投入市场。
市场压力
在传统金融中,一旦市场受到压力,有一个最终的贷款人可以为市场提供流动性。传统的金融市场有各种各样的缓冲机制来阻止市场的异常你看今年美国回购市场压力,就被美联储通过大量印钞轻轻松松解决了。我们支持美联储反对的一切,但也必须承认,它的干涉的确缓解了市场压力。虽说有时候这种压力是必要而且有益的。
比特币的市场就没有这些干预。它是一个24小时交易的市场,而且交易永远不会中断。我们也不知道这种大型的供应冲击将如何影响期货,价格,市场或一般交易者。
上次减半的时候发生了什么?

看到2012年和2016年的数字,可能会让比特币投资者对即将发生的减半十分兴奋。2012年,比特币价格在前六个月内从5美元上涨至12美元,上涨了2.3倍;2016年,比特币价格从350美元上涨至650美元,上涨了1.7倍。这样的涨幅,很可能会再次吸引投机性投资,而那些投机性投资者会在大约一个月前离开市场。所以如果比特币价格会在减半6周前开始下跌,请不要惊讶。

结论
比特币的生态系统要比我们平常谈到的更为复杂。矿工是生态系统的核心,减半对他们而言可能会造成很大问题。如果矿工现金流产生问题,他们很有可能会把手上的比特币抛到市场上来解决现金流压力,导致短期价格下降。此外,减半事件很可能会吸引大量投机者,他们会试图在减半之前撤走。
因此,千万不要自然的假设2020年5月之后比特币会立即出现强势的价格走势,这可能会发生,但不太可能会立即发生。需要耐心观察。
最终,供需决定价格。这是无可争议的。短期的供求因素可能会影响价格,但不能改变大势。历史上,比特币价格最强劲的涨幅总是发生在减半之后的一年。

我们一直在金融市场里强调,一只股票过去的表现不能用来预测它的未来。事实也确实如此,但我们还需承认,当一个东西的供应减少时,它也通常会变得更有价值。
BCX是比特币在块498888高度分叉诞生的新链。根官网展示,BCX将使用新的特性,成就比特币网络的更大价值.
1900/1/1 0:00:00经济合作与发展组织的一份报告称,来自东南亚的确投资者更加青睐加密资产,但缺乏风险意识。 OECD在官方网站上发布了该报告,在这一由日本政府资助的对越南、菲律宾和马来西亚投资者对加密货币看法的研究.
1900/1/1 0:00:00目前日本第二大的金融机构「瑞穗金融集团」,旗下有着日本三大商业银行之一的瑞穗银行、瑞穗信托银行以及瑞穗证券等,正计划推出一款专有的稳定币.
1900/1/1 0:00:00Stellar恒星币也迎来了自去年新高之后的新低。尽管今年加密市场整体都大幅跌落,但恒星币依然有着强劲的支持和快速的发展,用户更是翻了好几倍.
1900/1/1 0:00:00想在2018年11月投资StellarLumens?这是我们诚实的价格预测和预测。 概观 基本面分析技术分析专家观点恒星价格预测2018我们的预测更新:Stellar本月到目前为止已经享受了一个.
1900/1/1 0:00:00数字货币消息一览比特币行情趋势分析 MorganCreekDigital联合创始人AnthonyPompliano预计,比特币即将迎来1288%的新一轮长期牛市.
1900/1/1 0:00:00